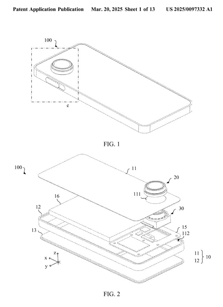
Huawei pare că dorește să aplice tehnologia de lentile retractabile pe care a folosit-o anul trecut pe Pura70 Ultra și pe alte dispozitive, în special atunci când vine vorba despre camerele cu zoom. Producătorul chinez de tehnologie a înregistrat recent un nou brevet în SUA, în care descrie un sistem de zoom optic avansat pentru smartphone-uri care ar permite depășirea limitelor optice și tehnologice din prezent.
Lentila cu zoom brevetată de Huawei folosește un sistem electronic mobil
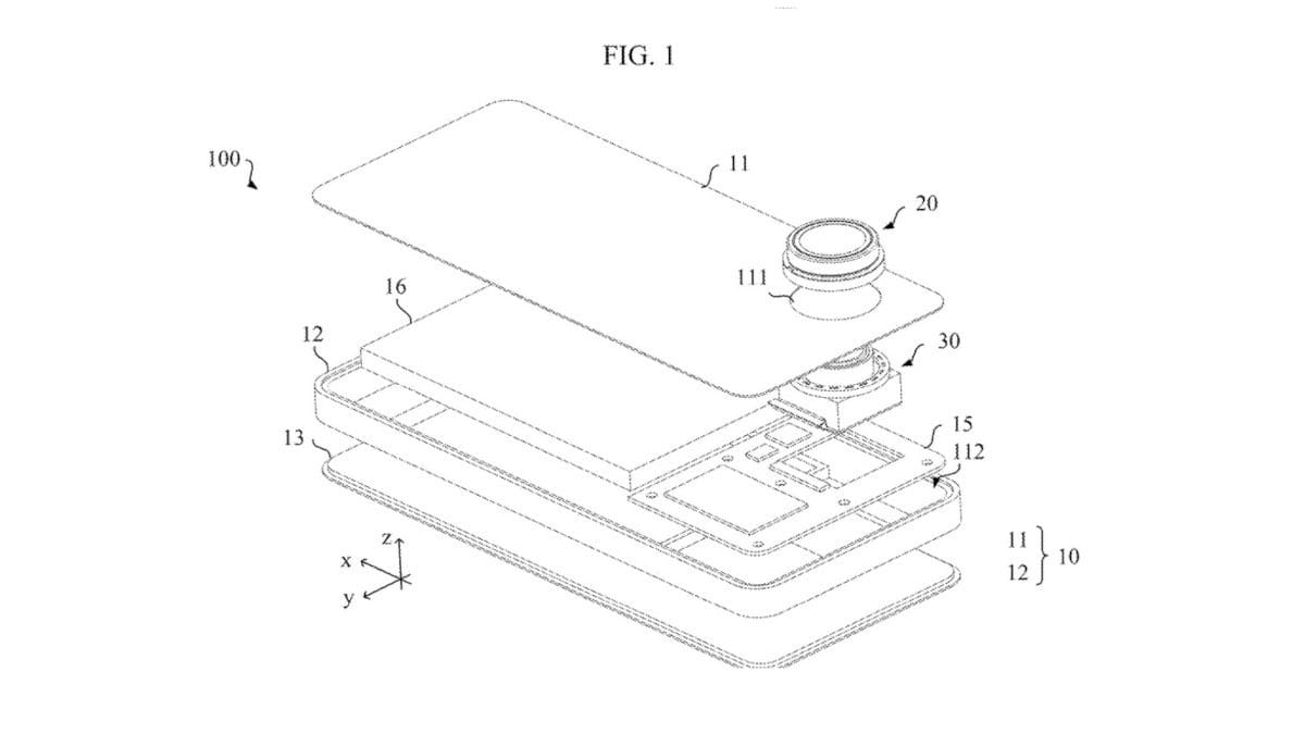
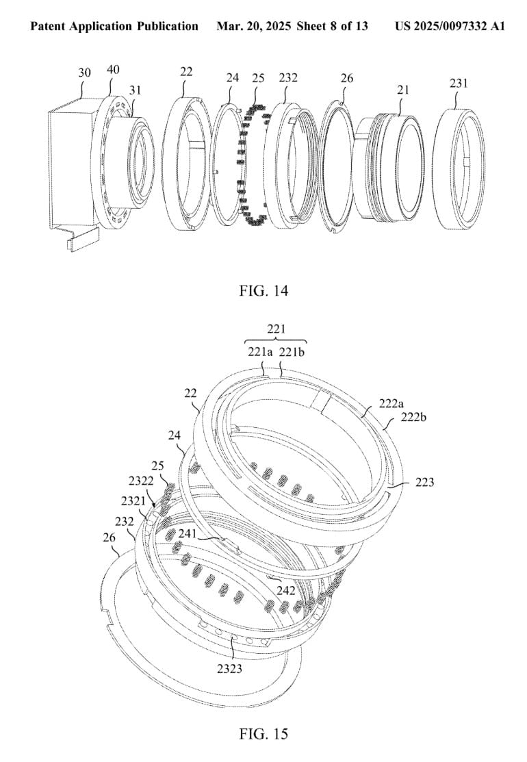
Compania chineză încearcă să breveteze în SUA ceea ce descrie drept un „Electronic Device With Movable Lifting Component”, adică un sistem electronic care ridică ceva. În cazul, de față, acesta ar fi folosit pentru realizarea unui ansamblu de camere dedicat lentilelor cu zoom. Astfel, lentila ar putea mări distanța față de senzor, ceea ce ar permite realizarea unui zoom optic mai mare. Astfel, se creează o „lentilă periscopică” în exteriorul dispozitivului, ceea ce înseamnă că va fi mai puțin loc ocupat la interior.

Spațiul extra ar putea fi umplut astfel cu noi componente, precum alte camere, baterii mai mari, sau sisteme de răcire îmbunătățite. Producătorii de telefoane au din ce în ce mai puțin loc sub carcasele telefoanelor, iar fiecare milimetru pătrat economisit poate să asigure o experiență de utilizare mai bună prin adăugarea de noi componente.
Brevetul descrie și posibilitatea de control manual asupra lentilei, ceea ce sugerează că am putea avea zoom optic real, similar cu cel de pe lentilele camerelor foto.



Desigur, înregistrarea unui astfel de brevet nu garantează utilizarea lui pe dispozitivele companiei. Multe brevete sunt înregistrate oficial doar pentru a proteja o idee, sau doar pentru a te asigura că atunci când aceasta va fi folosită, vei putea să ceri bani pe licențe de la alte companii. Având însă în vedere că Huawei deja folosește ceva asemănător, sunt șanse destul de mari ca producătorul măcar să încerce să aducă ceva de acest gen pe piață, dacă nu într-un produs comercial, măcar să demonstreze tehnologia cu un prototip.